点击体验: 【投标管理系统】
1. 方案背景:
在市场竞争日益白热化的当下,投标活动已然成为企业获取项目、拓展业务版图的关键路径。然而,传统投标管理方式弊端丛生。
从流程层面看,投标涉及环节众多,从前期项目信息收集、招标文件研读,到投标文件编制、审核与递交,全靠人工推进,不仅效率低下,各环节衔接不畅还易延误投标时机。
在信息管理上,项目资料、供应商信息、过往投标数据等分散存储,查找调用时耗时费力,难以有效整合利用,无法为新投标提供有力参考。而且,投标过程需与多方协作,部门间沟通成本高,信息传递易失真。
同时,各行业招投标规则与政策持续更新,企业难以及时掌握并适配。基于此,构建一套高效、智能的投标管理系统迫在眉睫,旨在打破管理困境,助力企业在投标竞争中抢占先机、提升中标率。
2. 方案优势
![]() |
|---|
3. 实施方案
![]() |
|---|
3.1 分析看板
3.1.1 综合看板
对投标项目的整体情况进行综合展示和分析,可能涵盖项目数量、进度、中标率等关键指标,帮助管理者宏观了解投标业务的运行状况
![]() |
|---|
3.1.2 投标负责人分析
聚焦于对各个投标负责人的工作表现进行分析,例如负责项目的成功率、项目进度把控情况等,以便评估其工作绩效,为人员管理和资源分配提供参考。
![]() |
|---|
3.1.3 方案员看板
针对方案员的工作进行分析,包括方案的质量(如是否符合招标文件要求、创新性等)、完成效率等,有助于提升投标方案的编制水平。
![]() |
|---|
3.1.3 预算员看板
主要分析预算员在投标项目中的工作,如预算编制的准确性、成本控制情况等,确保投标报价合理且具有竞争力。
![]() |
|---|
3.2 投标流程
3.2.1 项目登记
投标工作的起始步骤,对拟参与投标的项目进行信息记录。其中 “项目登记” 是具体的操作内容,详细记录项目的基本信息,如项目名称、招标人、招标范围等
![]() |
|---|
3.2.2 文件购买
完成项目登记后,购买招标文件,获取详细的招标要求和规则。该模块下的 “招标文件购买” 明确了这一操作环节。
![]() |
|---|
3.2.3 费用申请
在投标过程中会产生各类费用,如标书制作费、差旅费等,通过此模块进行费用申请。对应的 “投标费用申请” 就是具体的申请操作。
![]() |
|---|
3.2.4 项目勘察
为了更好地了解项目现场情况,制定合理的投标方案,对投标项目进行实地勘察。“项目勘察” 记录勘察的相关信息和结果。
![]() |
|---|
3.2.5 文件审查
在编制完投标文件后,对文件进行严格审查,确保文件符合招标文件要求,无遗漏和错误。“投标文件审查” 即代表这一质量把控环节。
![]() |
|---|
3.2.6 保证金退回
若投标结束后满足保证金退回条件,通过该模块处理保证金退回事宜,“投标保证金退回” 明确了这一操作任务。
![]() |
|---|
3.2.7 开标记录
开标是招投标过程中的重要节点,此模块记录开标过程中的相关信息,如开标时间、地点、唱标情况等。
![]() |
|---|
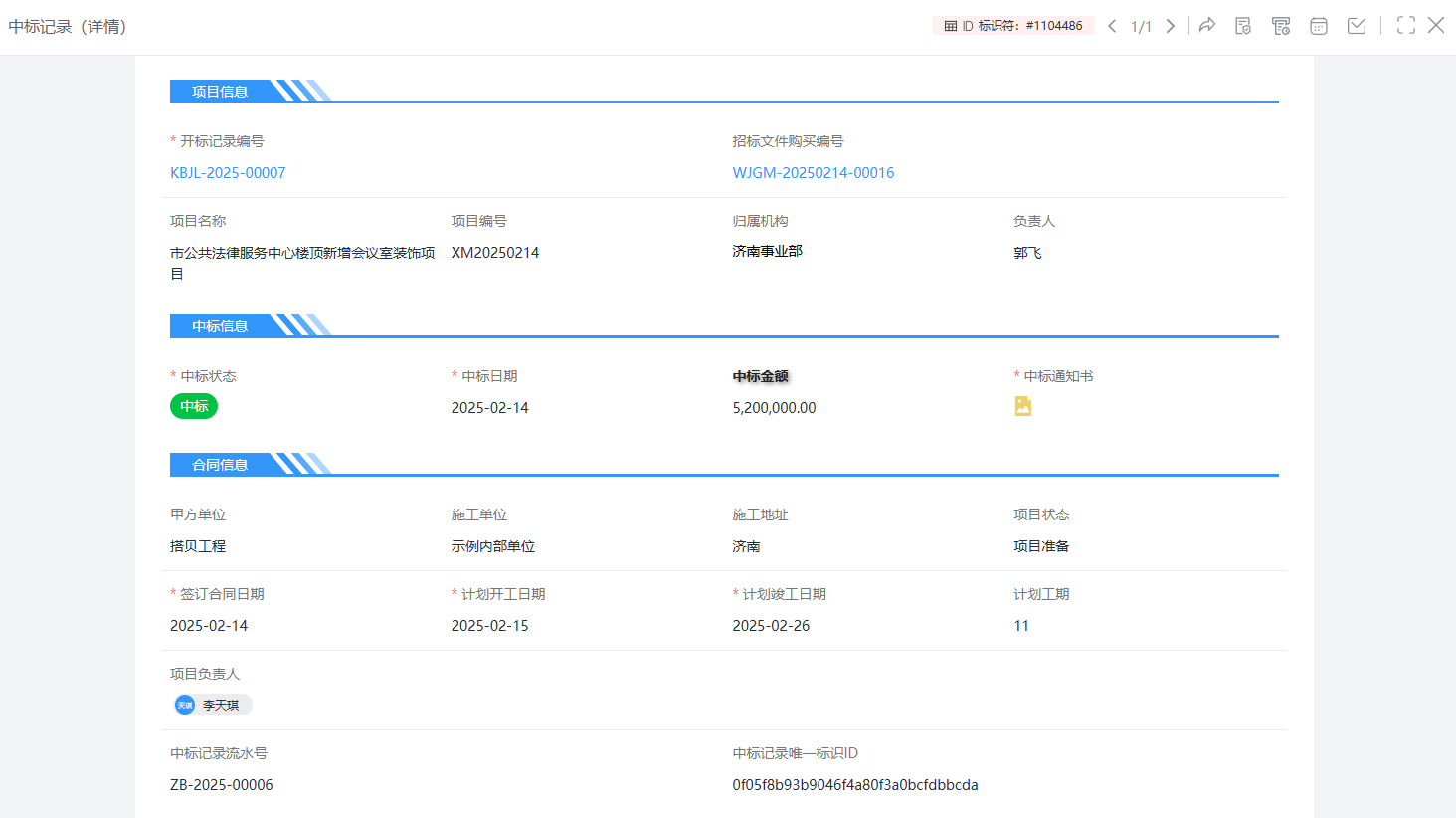
3.2.8 中标记录
当项目中标后,在此记录中标相关信息,如中标金额、中标通知书获取时间等,便于后续项目实施和管理。
![]() |
|---|













