点击体验: 【项目预算管理系统】
1. 方案介绍
1. 系统定位与目标
项目预算管理系统是针对企业或组织内多项目并行管理场景设计的数字化工具,旨在通过自动化预算编制控制、执行监控、成本分析及决策支持,实现以下目标:
![]() |
|---|
2. 项目预算管理痛点分析
1. 传统管理方式的局限性
- 预算编制效率低:依赖Excel手动汇总,跨部门数据传递耗时长,易出错。
- 成本管控滞后:预算执行数据需人工整理,超支风险 发现不及时,导致被动调整。
- 信息孤岛严重:财务、采购、项目团队 数据分散,缺乏统一平台协同,决策缺乏依据。
- 变更管理混乱:预算调整依赖线下审批,流程不透明,版本追溯困难。
2. 企业面临的典型挑战
- 多项目并行压力:资源分配 冲突、预算超支 风险加剧,需实时监控与快速响应。
- 数据准确性不足:手工录入导致 数据偏差,影响预算分析及决策质量。
- 合规性风险:预算调整 缺乏标准化流程,可能引发审计或监管问题。
- 管理层决策困难:缺乏直观的预算执行分析工具,难以快速定位 问题并制定策略。
3. 痛点解决方案
- 自动化流程:通过系统替代手工操作,缩短 预算编制周期,减少人为错误。
- 实时监控与预警:动态跟踪预算执行,提前预警 超支风险,支持主动干预。
- 数据整合与可视化:统一数据源,提供多维度分析报表,助力管理层精准决策。
- 标准化流程:固化预算调整审批流程,确保 合规性,提升管理透明度。
3. 功能介绍
3.1 预算与项目分析
分析所有科目的 总预算、已使用预算、冻结中的预算、剩余预算,可以按照 年度、公司、项目部、二级科目 进行查询。如果预制分析内容不够全面,可以根据需求进行添加其他维度的分析。
![]() |
|---|
以项目维度进行分析,通过甘特图随时查看项目的整体进度。如果预制分析内容不够全面,可以根据需求进行添加其他维度的分析。
![]() |
|---|
3.2 项目管理
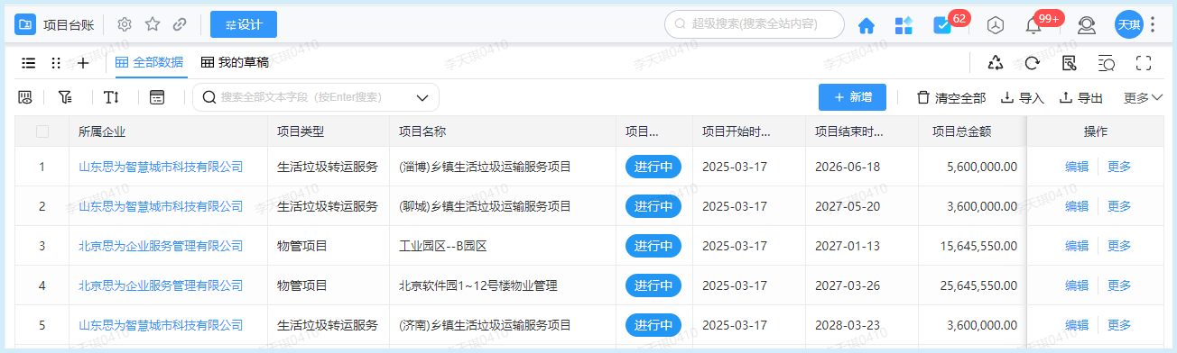
3.2.1 项目台账
记录项目的基本信息,方便在预算编制、采购、报销、付款的时候可以核算到对应的项目中。
![]() |
|---|
3.2.2 项目预算
编制公司项目的全年每月预算,精确到二级科目。在进行后续业务的时候可以根据月份和科目进行对应核算。
公式:剩余金额 = 预算金额 - 已使用金额 - 冻结金额
名词解释:
- 预算金额:为特定项目、时间段或任务预先设定的资金上限,表示计划可支出的总金额。
- 已使用金额:指已实际支出的资金总额,包括已支付或确认的费用。
- 冻结金额:因特定原因暂时无法使用的资金,通常处于待定或限制状态。
- 剩余金额:指当前账户或预算中尚未被使用的可用资金数额。
各金额的触发条件:
- 预算金额:二级科目每月的初始预算金额,不会随着业务自动发生变化;
- 已使用金额:在 报销 和 付款 完成之后,根据 “采购申请” 提交的月份在对应月份中进行累加;
- 冻结金额:当 “采购申请” 提交审批通过之后,会根据提交的月份在对应的月份中进行累加;在 报销 和 付款 完成之后,根据 “采购申请” 提交的月份在对应月份中进行扣减;
- 剩余金额:当已使用金额和冻结金额发生变化的时候,剩余金额也会发生变化;在发起 “采购申请” 的时候会根据选择的科目自动判断,参考总价金额 是否超出当前科目所在月份的 剩余预算金额,如果超出则不允许提交。
![]() |
|---|
3.2.3 内部公司信息
当公司有多个子公司的时候,需要提前维护,这样在后续的业务中才能正常运行。
![]() |
|---|
3.2.4 成本科目
支持自定义成本科目(如易耗品、设备租赁费、材料费),可按项目需求动态调整科目层级,确保成本数据分类准确,满足不同行业核算标准。
![]() |
|---|
3.3 采购管理
3.3.1 采购申请
员工在线提交采购申请,简化流程,提高采购效率,同时便于审批与记录。在发起 “采购申请” 的时候会根据选择的科目自动判断,参考总价金额 是否超出当前科目所在月份的 剩余预算金额,如果超出则不允许提交。
![]() |
|---|
3.3.2 采购订单
采购申请单在审批通过之后,自动生成采购订单,状态为 “待采购”,对应的采购员看到属于自己的采购单,在实际采购完成之后,点击 “采购入库” 按钮添加采购入库记录。添加完成之后订单状态自动变为 “办理完成”。
![]() |
|---|
3.3.3 采购入库单
1)只做简单的记录,不涉及到库存、出入库。数据新增是在「采购订单」表中完成采购后点击 “采购入库” 进行填写,入库单中的 发票金额 填写实际花费金额,用于报销和付款使用。
2)只有 “是否报销/付款完成” 状态为 “否” 的时候,“报销申请” “付款申请” 才可操作,当付款/报销完成会更改 “是否报销/付款完成” 状态为 “是”。
![]() |
|---|
3)如果有多个采购都是 自己付的钱,需要报销的时候,可以选中多条数据,然后使用列表按钮 “报销申请” 把选中的数据一次性添加到同一个报销单中实现 一次性报销。
![]() |
|---|
3.3.4 商品明细
初始维护平常的采购商品,在填写采购申请的时候使用。此商品明细不涉及到库存,如有库存需求可增加库存管理功能。
![]() |
|---|
注意:商品名称为 “未找到,手动填写” 的数据不要删除,当采购匉不在商品明细中,需要选择此条数据作为判断进行手动填写采购商品名。
![]() |
|---|
3.4 财务管理
3.4.1 报销申请
1)员工采购自己付钱,使用此单据进行报销;
2)可直接在此功能中发起,也可在“采购入库单”中发起。因为采购入库单中填写了 真实的花费金额,所以报销单关联的是“采购入库单”,可以一次性报销多个“采购入库单”;
3)只有“否报销/付款完成”为 “否” 的入库单才能被选中。
![]() |
|---|
3.4.2 付款申请
1、采购由公司付款,员工只负责采购的,使用此付款单;
2、采购入库单中填写了真实的花费金额,所以报销单关联的是“采购入库单”;
3、可以去“采购入库单”根据入库单发起报销申请,付款单只针对单条“采购入库单”数据进行发起采购付款;
4、如果在付款的时候供应商选不到,请先添加供应商,然后再走付款申请
5、只有“否报销/付款完成”为“否”的入库单才能被选中。
6、如果上传发票,系统会识别发票编号,如果编号相同则不允许提交,防止发票重复使用。
7、发票支持可以后期上传。
![]() |
|---|
3.5 供应商管理
填写供应商基本信息、公司资质明细、业务范围明细等内容,审核通过之后,自动在 “供应商台账” 表中显示,用于付款时的供应商选择。
![]() |
|---|
3.6 项目人员管理
管理各项目人员基本情况,包括在职状态。如果在职人员受伤,可以直接更改在职状态,并在“人员受伤事故理赔进度” 表中生成一条数据,可实时查看理赔进度。
![]() |
|---|
![]() |
|---|
4. 系统价值总结
项目预算管理系统通过数字化手段,帮助企业解决传统预算管理的效率低、成本失控、信息割裂等痛点,实现预算编制的精准化、执行监控的实时化、决策分析的科学化,最终提升项目盈利能力及资源利用率。

















