一、方案背景:商业资产管理中的需求痛点
商业管理、资产地块管理、租赁管理中常面临的以下难点:
- 资产分散难管理:资产地块多、分区多、种类多,资产已出租/空置/即将到期等维度管理工作耗时长;
- 租赁合同难管控:租赁主体多,主体种类、租赁日期、有效期、缴费情况等均不一致,合同难以整体管理、难以快速查询;
- 租金收缴难统计:租赁主体零散、应缴/已缴/拖欠情况各有不同,租金收缴和统计工作量非常大;
- 水电物业、消防维修服务难记录:水电登记和收费、消防检查和整改、设备巡检和报修等管理服务业务杂,综合管理效率低。
二、方案定位:解决痛点,提升效率
商业资产租赁管理系统切实针对以下行业,解决核心业务痛点:
- 物业管理企业:物业服务管理,物业费缴纳管理,水电抄表,维修服务;
- 商业管理企业:商业区、综合体资产地块管理,资产租赁管理,合同管理、租金收缴统计;
- 房产租赁/公寓运营企业:房屋资产管理、合同管理、租赁管理、管家服务。
三、方案架构
四、功能介绍
4.1 资产管理
- 资产台账:资产情况一表总览,支持根据资产片区、资产状态等分类进行分组统计,。
- 租赁状态:支持不同资产租赁状态分色标注,根据资产合同维护情况自动同步状态变更,减少人工操作,增强时效性和精准性。
- 新建资产:创建、维护资产信息。
4.2 合同管理
- 合同台账:汇总展示每一笔合同详细信息,支持自定义统计筛选,自动关联收租、退租、变更等数据,一个表单总览该租户全周期数据,提高工作效率。
- 收租账单:自动生成合同租金账单,并根据合同执行过程动态实时更新租金收缴状态。
4.3 财务管理
- 押金管理:对租户的押金收缴情况进行汇总统计,支持单笔押金分批收缴。
- 收租管理:登记收租状态,关联合同信息动态更新,形成收租台账。
- 退租/变更:生成和管理采购订单,涵盖订单下达、跟进、收货确认等环节,确保采购流程顺利进行。
- 维修付款:记录向供应商支付款项的信息,明确资金流出情况,保证财务支出清晰准确。
4.4 水电登记/维修登记/消防检查
- 水电登记:对租户的水电费用情况进行缴费登记,支持多租户缴费分摊。

- 维修登记:登记维修工单,分色标记不同工单的处理状态,形成工单台账。
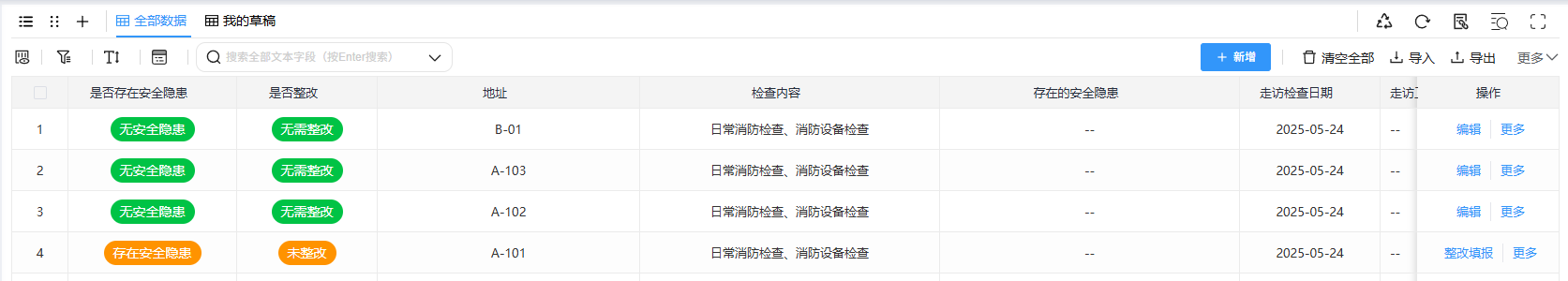
- 消防检查:登记消防检查情况,检查结果是否存在隐患分色标记。
- 消防整改:登记消防整改情况,整改完成后自动同步消防检查台账。
4.4 报表分析
- 租金报表:分析租金的应收、已收、未收情况,统计账单流水等重点数据。
- 财务报表:统计收款、付款、欠款等财务数据。
- 消防报表:统计消防检查、整改及维修情况。