企业数智化,用搭贝就够了! 先试用,满意后再付款,使用 不满意无理由退款!
干工程的都懂,工地上最闹心的不是搬砖扛钢筋,是这些事儿:
▸问进度,班组长支支吾吾,翻半天 Excel 才说 “大概齐”;
▸ 验完收签字画押,后来渗漏了,监理和施工队互相甩锅;
▸钢筋领了多少、剩多少全靠 “人脑记账”,超耗了都不知道咋超的。
不是不想用系统,是复杂系统学不会、用不起;零散工具又串不起来,等于白搭。
今天咱就用最基础的 “表单 + 零代码平台”,花两小时搭套能落地的管理系统
—— 不求多完美,先解决 “进度不清、质量难溯、材料糊涂” 这仨核心痛点。

第一步:先抓最痛的“3个痛点”
别贪大求全!两小时能搭的系统,必须聚焦 “现场火烧眉毛的事儿”:
| 痛点 | 具体闹心场景 | 要解决的核心需要求 |
|---|---|---|
| 进度 “猜谜” | 模板还没干完,钢筋班组就进场等着;领导问进度,得翻 5 个 Excel 慢慢汇总 | 实时看到各区域干到啥程度 |
| 质量 “甩锅” | 验收只签字,后来渗漏了说不清谁的责任;隐蔽工程没记录,返工找不到病根 | 验收数据能追溯、问题能闭环 |
| 材料 “糊涂账” | 钢筋领了多少全靠记,超耗了不知道是浪费还是设计变了;库存剩多少心里没数 | 材料进出有记录、消耗能对账 |
关键:先解决 “能不能用”,别纠结 “好不好用”—— 工地容不得 “完美主义”。
第二步:用“表达工具”搭3大核心模板
不用写代码,现成的零代码工具(如搭贝零代码平台),按 “数据录入→流程流转→实时查看” 的逻辑,一步步搭:
模块 1:进度管控 —— 让 “干到哪步” 一目了然
系统功能运用:
▸基础信息:通过「项目信息」关联 “项目名称、施工区域(如 3 号楼 5 层)、负责人、计划工期”;

▸进度跟踪:用「施工管理 - 进度计划 / 进度反馈」,班组长每日更新完成比例(0%/25%/…/100%)、填写当前问题(缺材料 / 天气影响等);

▸证据留痕:借助「施工日志」上传现场照片(带时间水印、定位),作为进度佐证。

咋用起来?
▸ 班组长每天花 2 分钟更新:选好区域,填进度,拍张现场照片;
▸ 项目经理打开零代码平台自动生成的 “进度汇总表”,红色标滞后项(比如 “计划该干 75%,实际才 25%”);
▸ 要是滞后超 2 天,平台自动标红,给负责人发消息提醒(用平台的 “提醒功能” 设置)。
模块 2:质量验收单 —— 让 “合不合格” 有数据说话
核心字段咋设计?
▸标准数据:规范值(比如 “钢筋间距允许偏差 ±10mm”,提前设到系统里)

▸实测记录:实际数值、带水印的照片(拍超标部位特写,别糊弄)、验收人签字(电子签名更方便)

▸整改跟踪:问题描述、整改责任人、完成时间、复查照片

咋用起来?
▸施工员自检合格后,填好数据、附上照片,发起验收申请;
▸监理现场复核,填 “实测值”,合格就签字,不合格就填 “整改要求”;
▸整改完,施工员上传 “整改后照片”,监理复查通过,才算真正闭环。
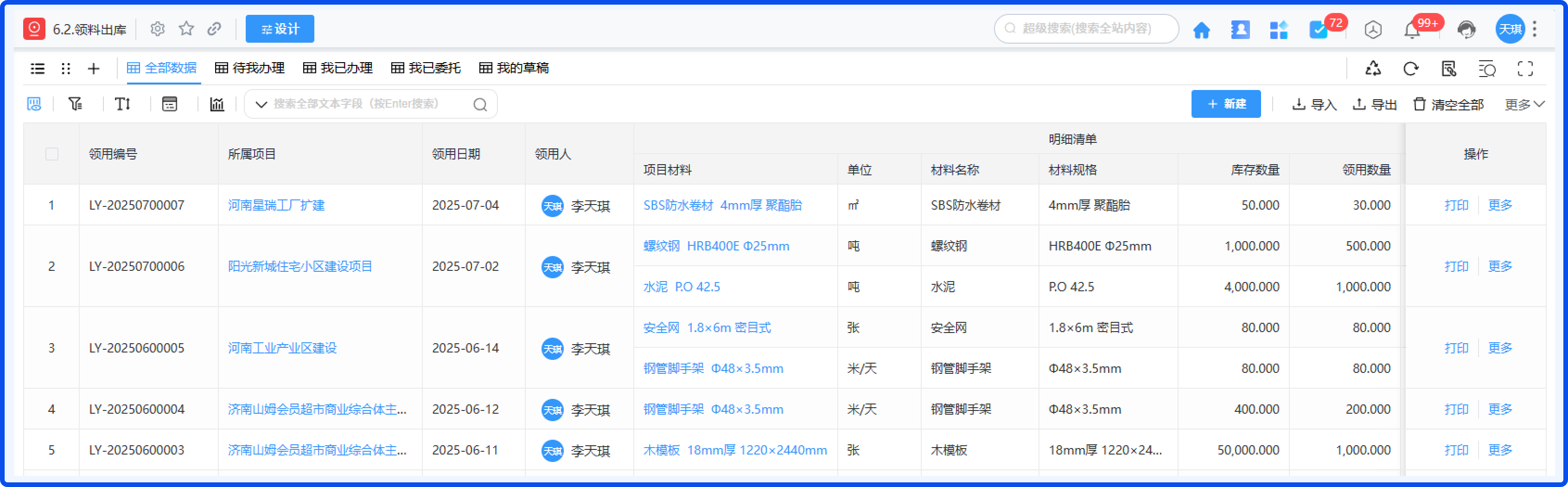
模块 3:材料领用登记 —— 让 “进了多少、用了多少” 清楚
核心字段咋设计?
▸材料信息:名称(比如 “Φ12 钢筋”)、规格、批次、供应商

▸流转记录:进场时间 / 数量(附送货单照片)、领用时间 / 数量 / 领用人、用到哪个区域(比如 “3 号楼 5 层”)

▸库存管理:当前余量(平台自动算:进场量 - 领用量)、预警线(比如 “低于 5 吨时标红提醒”)

咋用起来?
▸材料员进场时,用手机扫钢筋吊牌上的二维码,零代码平台自动填规格、数量,省得手动输错;
▸班组领用时,在平台选 “材料名称 + 领用数量 + 用到哪个区域”,负责人签字确认;
▸平台自动生成 “材料消耗表”,超耗 10% 时,给项目经理发提醒(比如 “3 号楼钢筋领用超预算了,赶紧查查”)。
第三步:用 “零代码平台” 搭协同中枢
找个零代码开发平台(比如搭贝),做 3 个汇总表单,让数据 “互通”:
▸进度看板:按 “楼栋 - 区域” 分类,链接到各区域的 “进度跟踪表”,用颜色标状态(绿 = 完成,黄 = 进行中,红 = 滞后);
▸质量问题清单:自动抓验收单里的 “不合格项”,按 “紧急程度” 排序(比如 “渗漏” 标成最高级);
▸材料库存预警:从 “材料领用登记” 同步数据,低于预警线的材料标红,附上 “最近供应商的联系方式”。
关键:把看板设为 “首页”,所有人打开直接看全局
—— 别再问 “进度咋样了”“材料够不够”,数据自己会说话。



第四步:给系统 “定 3 条铁律”
没规则的系统,用三天就废。花 10 分钟定 3 条 “铁律”:
- 录入时间:进度、材料数据每天 17 点前更新;质量验收单,验收完 1 小时内必须录入;
- 数据责任:谁录的数据谁负责,发现造假(比如 PS 照片),直接处罚;
- 查看权限:工人只能看自己负责的区域,班组长能看全项目进度,领导能看所有数据。
落地小技巧:第一天花 10 分钟给班组做培训,用现场案例演示 “咋填、为啥填”
—— 让他们明白 “不是增加工作量,是减少扯皮吵架”。
五、这套 “简易系统” 真能解决问题?
有家做 3 万平米住宅项目的工地,用这套方法后:
- 进度滞后从 “周会才发现” 变成 “当天就预警”,窝工少了 40%;
- 质量问题追溯从 “3 天查不清” 缩短到 “10 分钟找到病根”,返工率降了 50%;
- 钢筋超耗从 “月底才知道” 变成 “超 10% 就预警”,损耗率从 8% 降到 3%。
它确实不完美,但比 “靠嘴说、靠纸记” 强 10 倍
—— 复杂系统需要时间磨合,可工地上的问题,等不起。

六、最后:两小时,不止是搭套系统
这套基于搭贝零代码平台的简易系统,核心不是工具多牛,是传递一种管理逻辑:
- 用 “数据” 代替 “拍脑袋”(“实测值 22mm” 比 “我觉得合格” 靠谱 100 倍);
- 用 “规则” 代替 “讲人情”(“超耗就预警” 比 “差不多得了” 可控得多);
- 用 “透明” 代替 “糊里糊涂”(“所有人看同一套数据”,别再各说各话)。
要是觉得有用,第二天再花半小时优化:在零代码平台加个 “签证变更登记” 表,解决 “洽商记录找不到” 的问题;加个 “施工日志” 模块,自动汇总每天的进度、质量、材料数据。
工程管理数字化,从来不是 “一步到位”,是 “小步快跑”
—— 先解决 “有没有”,再追求 “好不好”。
两小时搭的不是完美系统,是让工地从 “混乱” 变 “有序” 的开始。
手机扫码开通试用

