在佛山市南海区,嘉美时代照明有限公司以其卓越的照明产品和创新精神照亮了行业的未来。为了进一步巩固其在工业地产领域的领先地位,嘉美时代照明携手搭贝,共同打造了一款集智能化、高效化、透明化于一体的园区租赁系统,为公司的工业园区运营注入了全新的活力与智慧。
该系统如同一位智慧管家,全面接管了园区的租赁事务。通过先进的数据分析技术,系统实时呈现园区的租赁市场动态,为嘉美时代的招商策略调整、租金定价优化提供了精准的数据指引,助力公司在激烈的市场竞争中抢占先机。
>> 点击体验「园区租赁系统」
![]() |
|---|
一、数据分析 —— 指引决策方向
1)租赁分析看板:直观呈现园区的 租赁率、空置率、租户行业分布、租期结构 等关键指标。管理者借此洞察园区租赁市场的动态,为招商策略调整、租金定价优化提供数据支撑。
![]() |
|---|
2)宿舍水电分析看板:聚焦宿舍区域,分析水电消耗与入住人数、季节变化的关联,助力管理者优化宿舍资源配置,制定针对性的节能降耗方案。
![]() |
|---|
二、房间管理 —— 构建清晰空间架构
1)楼栋信息:系统详细记录每一栋楼的基本情况,包括楼栋编号、建筑年代、结构类型、总层数等。管理者通过这些信息,能迅速定位到特定楼栋,了解其整体特性,为后续的维护、规划提供依据。例如,老旧楼栋可能需要优先安排修缮资金,以保障租户的使用安全与舒适度。
![]() |
|---|
2)楼层信息:细化到每个楼层,涵盖楼层布局图、可租赁面积、公共区域设置等内容。这有助于合理规划不同类型租户的分布,商业租户可能倾向于低楼层的显眼位置,而办公租户对高楼层的静谧环境需求更高。同时,清晰的楼层信息也方便保洁、安保等日常服务的精准调配。
![]() |
|---|
3)房间信息:精确至每一间房,房间号、面积、户型、朝向、装修程度 一应俱全。租户在选房时,可根据自身需求快速筛选出心仪的房间,管理者也能依据房间的具体参数制定差异化租金策略,实现空间价值的最大化。
![]() |
|---|
三、合同管理 —— 保障租赁双方权益
1)租户合同:以电子合同形式存储,涵盖 租赁起止时间、租金金额、押金规则、房屋用途 等关键条款。合同的线上化便于随时查阅、修改(在合规前提下),减少纸质合同易丢失、难查找的弊端,确保租赁关系有法可依、有据可查。
![]() |
|---|
2)合同提醒:系统自动根据合同中的时间节点,提前向管理者与租户 发送提醒。如租金缴纳提醒,避免租户逾期产生滞纳金;租期到期提醒,方便管理者提前规划续租或招租事宜,让租赁流程无缝衔接,减少空置期损失。
![]() |
|---|
四、抄表管理 —— 精准能耗把控
1)水表抄表记录:定期记录各房间的水表读数,精确反映租户的用水情况。对于用水量大的租户,管理者可适时提供节水建议,或排查是否存在漏水隐患;同时,依据用水数据合理分摊公共区域的水费,确保费用公平公正。
![]() |
|---|
2)电表抄表记录:同理,电表读数的精准记录为电费核算提供支撑。通过分析用电趋势,管理者能发现异常用电高峰,及时检查电器设备故障,也有助于制定节能措施,倡导绿色园区建设。
![]() |
|---|
五、租户管理 —— 聚焦租客需求
租户信息模块详细记录租户的 个人或企业资料 ,包括 联系方式、营业执照、紧急联系人 等。这不仅方便日常沟通联络,如物业通知的精准推送,在遇到突发情况时,也能迅速联系到相关责任人,保障园区运营的稳定性与安全性。
![]() |
|---|
六、数据追溯 —— 还原租赁历程
历史合同账单记录如同园区租赁的 “档案库”,过往的每一笔 租金调整、费用明细 都清晰可查。无论是租户对费用的疑问,还是管理者进行 财务审计、经营分析,都能在这里找到确凿的依据,回溯租赁业务的发展轨迹。
![]() |
|---|
七、基础信息 —— 奠定计费基石
费用单价 设置关乎 租金、水电费、物业费 等各项费用的核算基准。管理者可根据 市场行情、园区运营成本动态 调整单价,确保园区的盈利空间,同时兼顾租户的承受能力,维持良好的租赁生态。
![]() |
|---|
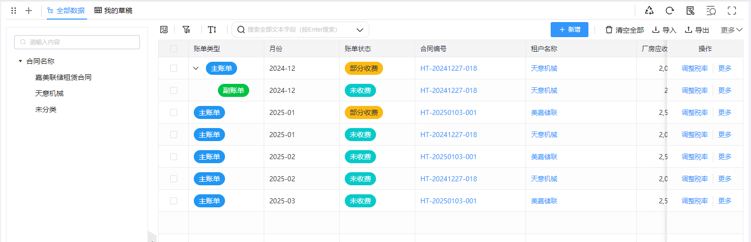
八、费用管理 —— 确保资金流畅
1)租户计费明细:按照合同约定与抄表数据,详细列出租户每月的各项费用构成,让租户对支出一目了然,增强费用透明度。
![]() |
|---|
2)租户收费明细:记录租户的缴费情况,已缴、未缴、欠费金额实时更新,便于财务对账与催收工作的开展。
![]() |
|---|
3)退房管理:当租户退租时,系统自动结算剩余租金、押金退还、费用清算等事宜,简化退房流程,避免纠纷。
![]() |
|---|
4)账单催收:针对逾期未缴费的租户,系统生成催收通知,可通过短信、邮件等多渠道发送,督促租户尽快缴费,保障园区的资金回笼。
![]() |
|---|
综上所述,园区租赁系统凭借其全方位的功能模块,实现了租赁业务从空间管理到资金流转、从日常运维到战略决策的智能化升级,为园区的蓬勃发展注入强大动力。
系统功能全面,从数据分析到费用管理一应俱全,极大简化了租赁管理流程。特别是数据分析和房间管理功能,为我们提供了宝贵的决策支持和空间规划依据。系统界面简洁明了,操作便捷,用户体验极佳。同时,售后服务专业且响应迅速,确保系统稳定运行。总之,园区租赁系统为我们带来了极大的便利和价值,我们非常满意。
--佛山市南海嘉美时代照明有限公司 谢老师
手机扫码开通试用

















